登录
注册
社区首页
ECCANG软件
卖家工具
单位换算
企业新闻
跨境头条
产品手册
热门话题
专栏
社区首页
ECCANG软件
单位换算
企业新闻
跨境头条
产品手册
热门话题
专栏
tuauuu社区
产品手册
跨境电商ERP系统
订单出库操作手册
如何重打拣货单?_跨境电商erp系统软件
2018-05-31 15:18:00
3561人浏览
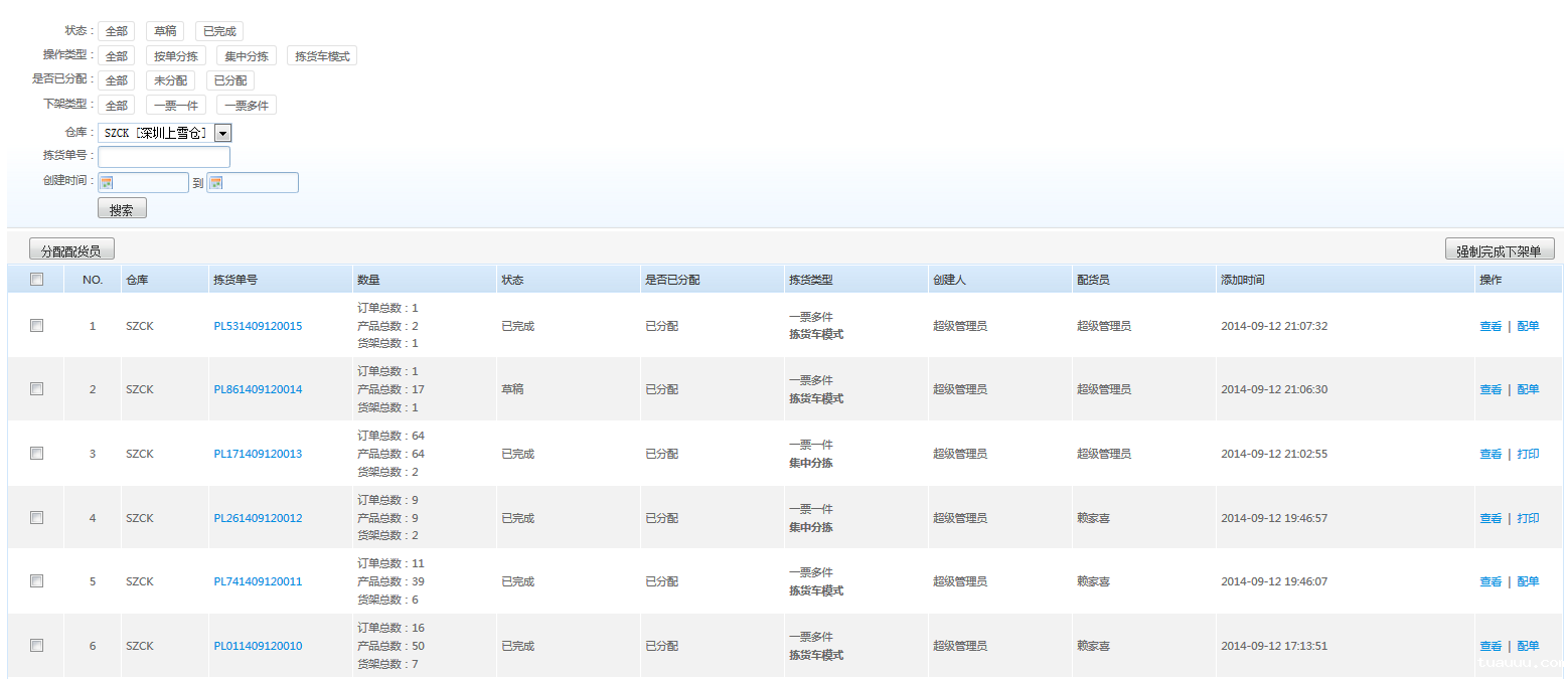
从下架单列表功能,可查看下架单的具体订单信息,也可以重打拣货单。
相关产品手册
仓库订单出库打印的产品条码过长怎么办
lazada平台,平台状态为:ready_to_ship的订单,系统会默认为什么状态?
伟德手机app下载官网系统SKU条码格式配置
仓库订单如何更改渠道?_跨境erp软件
签出后如何调整跟踪号、签出重量?_跨境erp管理软件系统
如何查看重打日志?_跨境erp管理系统软件
如何导出订单数据?_跨境贸易erp软件
如何查看订单数据?_跨境贸易erp系统
订单主要有几种状态?各代表什么意思?
各种模式的操作流程_跨境网店erp软件
下架模式有几种?_跨境网店erp系统
上一篇:
如何查看重打日志?_跨境erp管理系统软件
下一篇:
如何导出订单数据?_跨境贸易erp软件
在线咨询
微信咨询
微信咨询
(请备注咨询产品)
预约演示
回到顶部
BETVlCTOR手机登录